Stĺpový žeriav s kanálikovým ramenom
Stĺpový žeriav CM1 – ideálne riešenie pre efektívnu manipuláciu s bremenami vo vašej dielni či výrobnom priestore. Ak hľadáte robustné, flexibilné a bezpečné riešenie pre manipuláciu s bremenami – model CM1 kombinuje kvalitu, variabilitu a jednoduchú obsluhu. Otočný stĺpový žeriav vám umožní efektívne využiť priestor, znížiť potrebu ručnej manipulácie a zvýšiť bezpečnosť práce.
-
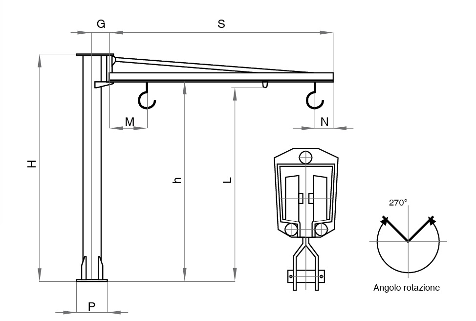
Nosnosť: 125 kg / 250 kg / 500 kg / 1000 kg – voľba podľa potreby.
-
Dĺžka ramena: 3 m / 4 m / 5 m / 6 m / 7 m / 8 m – prispôsobiteľné podľa pracovného priestoru.
-
Otočný rameno vybavené guľkovými ložiskami pre plynulý pohyb.
-
Brzda s nastavením pásom zabezpečuje bezpečné polohovanie.
-
Elektrický rozvod pre jednoduchšiu integráciu do pracovného procesu.
-
Vozík pre kladkový zdvih s laterálnymi vodiacimi ložiskami pre spoľahlivý posun.
-
Povrchová úprava epoxidovou farbou – stacionárne časti v RAL 7035, pohyblivé časti v RAL 5012.
-
Značenie CE podľa smernice strojov 2006/42/CE.
- Ukotvenie k podlahe: možnosť s rámom zakladania alebo so zhrubnutou základovou doskou (chemické kotviace prvky nie sú zahrnuté).
-
Pripravené na montáž v priemyselnom prostredí.
V prípade záujmu nás neváhajte kontaktovať na 0903504117 alebo itys@itys.sk
Radi pre Vás prichystáme cenovú ponuku na akýkoľvek výber produktov.
Naše ďalšie stránky:
www.kamenarstvoitys.sk
www.platkovezlato.sk
www.gravirovanidokamene.cz
www.kogravirozas.hu








Recenzie
Nikto zatiaľ nepridal hodnotenie.