🏗️ CMMBS – stĺpový žeriav s kĺbovým ramenom
Model CMMBS predstavuje sofistikované riešenie pre manipuláciu s bremenami vo výrobnom, skladovom či servisnom prostredí, kde je potrebná vyššia flexibilita dosahu a otočenia ramena. Kĺbové rameno, ktoré umožňuje efektívnejšiu manipuláciu v priestoroch s prekážkami.
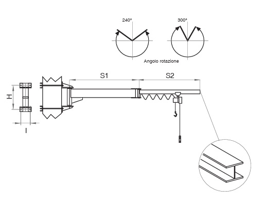
🔧 Technické parametre
-
Nosnosť : 125 kg / 250 kg / 500 kg / 1000 kg.
-
Dĺžka ramena : 3 m / 4 m / 5 m / 6 m / 7 m / 8 m.
-
Rozmer od stĺpa : voľba podľa potreby – 0-300 mm / 310-500 mm / 510-660 mm / 670-800 mm.
-
Rotačné / kĺbové rameno: rameno je kĺbové a uložené na guľkových ložiskách pre hladký pohyb.
-
Brzda: nastaviteľná pásová brzdana oboch ramenách
-
Povrchová úprava: epoxidová farba; pevné časti v RAL 7035, pohyblivé časti v RAL 5012.
-
Certifikácia: Značenie CE podľa smernice Strojov 2006/42/CE.
-
Voliteľné doplnky
-
pneumatická brzda na prvom ramene
-
konzola pre pevný zdvihák na konci ramena
-
systém blokovania vozíka pre zdvihák na druhom ramene
-
⚙️ Montáž a prevedenie
-
Žeriav je určený pre kotvenie na stenu
-
Štandardné prevedenie je pre vnútorné haly, dielne alebo výrobné prevádzky.
-
Varianty nosnosti a dĺžky ramena umožňujú prispôsobenie podľa konkrétneho priestoru a požiadaviek manipulácie.
-
Kĺbový mechanizmus ramena umožňuje lepšiu manévrovateľnosť a dosah v členitých priestoroch s prekážkami.
✅ Výhody modelu CMMBS
-
Vyššia flexibilita manipulácie: kĺbové rameno umožňuje lepšie dosiahnutie rôznych pracovných polôh aj v obmedzenom priestore.
-
Výborné prispôsobenie: široká paleta nosností, dĺžok ramena a rozmerov od stĺpa umožňuje optimalizovať riešenie podľa potreby vášho pracoviska.
-
Bezpečnosť a spoľahlivosť: robustná konštrukcia, nastaviteľná brzda, guľkové ložiská, certifikácia CE.
-
Profesionálne prevedenie: starostlivo vybrané farby, elektrické zapojenie pripravené pre použitie, možnosť voliteľných doplnkov.
-
Efektívne využitie priestoru: ideálne tam, kde je obmedzený priestor, alebo je potrebná manipulácia s bremenami v rôznych polohách.
🎯 Ideálne využitie
Model CMMBS je vhodný pre:
-
dielenské a servisné pracoviská s potrebou manipulácie s bremenami
-
výrobnú prevádzku, kde je obmedzený priestor alebo prekážky v priestore
-
haly s potrebou flexibilného dosahu ramena do výklopných miest
-
miesta, kde sa vyžaduje vyššia manévrovateľnosť ramena a bezpečná obsluha bremien.
Ak chceš, môžem pripraviť krátku verziu popisu (pre výpis zobraz
V prípade záujmu nás neváhajte kontaktovať na 0903504117 alebo itys@itys.sk
Radi pre Vás prichystáme cenovú ponuku na akýkoľvek výber produktov.
Naše ďalšie stránky:
www.kamenarstvoitys.sk
www.platkovezlato.sk
www.gravirovanidokamene.cz
www.kogravirozas.hu








Recenzie
Nikto zatiaľ nepridal hodnotenie.